全国服务热线: 0769-23388352
磁铁新闻

磁铁资讯

联系卡瑞奇磁铁厂家
全国服务热线:0769-23388352
邮 箱:salesa@dgcourage.com
网 址://www.providerssource.com
地址:广东省东莞市万江区新和社区龙通一路1号厂房

您现在的位置: 首页>>磁铁资讯>>公司新闻

公司新闻
  • 网站近期可能无法正常访问的通知

    网站近期可能无法正常访问的通知

    2026-01-13

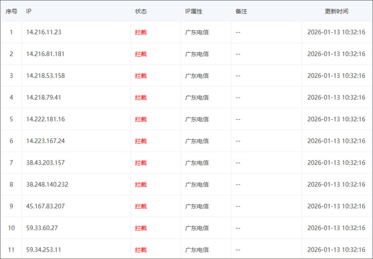
    根据空间服务商的技术监控信息显示,自 1 月 9 日起,我司网站遭遇来自广东地区的大量异常 IP 高频访问行为。该类访问在短时间内造成网站流量异常增长,服务器带宽和 CPU 资源被大量占用,从而影响网站的整体访问稳定性,部分正常用户访问受到波及,如出现访问拒绝的提示。...[详细]

  • 近期新测的钕铁硼38uh等级BH曲线

    近期新测的钕铁硼38uh等级BH曲线

    2026-01-09

    38UH的最大磁能积在36–39 MGOe,从这数据可以看出其有较强的磁能密度和良好的磁性能。剩余磁通密度(Br)在 12.3–12.8 kGs。内禀矫顽力 Hcj ≥ 25 kOe,在高温或强外磁场环境下保持性能的稳定性明显优于普通N38等级。下图为近期(2025-12-28)测出的的38uh BH曲线...[详细]

  • 在卡瑞奇磁铁呆满十年了,不容易,很感恩

    在卡瑞奇磁铁呆满十年了,不容易,很感恩

    2026-01-04

    前面刷到一篇文章,写的是能在一家公司待满10年,真的太难了。确实,如今大环境不好,就业相对困难,有的干着干着公司就宣布结业了,干着干着整个部门就被裁了,干着干着就收到辞退通知了,很庆幸,也很佩服自己能在卡瑞奇工作满十年。...[详细]

  • 找微电机多极磁环 卡瑞奇规格多质量稳定

    找微电机多极磁环 卡瑞奇规格多质量稳定

    2025-12-23

    找微电机多极磁环,本厂可以提供相似规格样品。找微电机磁铁,本厂可以按照客户要求定制生产。如您正在找微电机磁环现成规格、定制微电机磁铁,微电机磁钢厂家,欢迎来电咨询...[详细]

  • 年底了,询磁铁现成规格的客户开始多起来了

    年底了,询磁铁现成规格的客户开始多起来了

    2025-12-22

    再有10来天2025就结束了,临近年底,给我最大的感受就是近期找上来的多数客户都是需要找现成磁铁规格,不愿定制,不愿开模,要么就是定制特别大的磁瓦,长条形磁铁,多极磁环等。...[详细]

  • 询样定制水泵转子磁铁,找卡瑞奇磁铁咨询

    询样定制水泵转子磁铁,找卡瑞奇磁铁咨询

    2025-12-10

    无论您是需要单个的转子磁环,还是需要与轴注塑一体(带叶轮),我们都有解决方案。如您在我们官网上有看到适合您的转子磁铁,欢迎与我们联系,我们长期为家电水泵、空调水泵、循环泵、加压泵等领域提供多极转子磁环与永磁组件。...[详细]

  • 吸力超强的磁铁哪里有卖?卡瑞奇满足您的要求

    吸力超强的磁铁哪里有卖?卡瑞奇满足您的要求

    2025-10-23

    吸力超强的磁铁通常采用高品质的钕铁硼(Neodymium)材料,这种材料具有极高的磁性能。无论是小尺寸的磁铁,还是大尺寸的磁体,它们都能提供非常强大的吸力,远超传统铁氧体磁铁,适用于需要强力磁场的各种场合。...[详细]

  • 微型磁铁加工定制,你和我就差一个电话

    微型磁铁加工定制,你和我就差一个电话

    2025-10-14

    你们厂微型磁铁能做多小规格?我们有能力做低于直径1mm以下的小磁铁,如0.8mm,0.6mm,厚度根据磁铁大小及形状,太长如果厚度还很薄容易碎,0.4mm,0.5mm厚比较常见。...[详细]

  • 东莞可以定制无刷马达转子磁铁的生产厂家

    东莞可以定制无刷马达转子磁铁的生产厂家

    2025-10-14

    周六上午,一个客户打电话过来咨询我们是否可以定制无刷马达转子磁铁,我说当然可以,我们公司主要就是做这类电机磁,简单聊了几句后发现他也不太清楚,我就跟客户说加微信发样品图片或图纸看看。...[详细]

  • 去塘厦客户工厂拜访送铁氧体样品 发现新商机

    去塘厦客户工厂拜访送铁氧体样品 发现新商机

    2025-09-05

    做好销售与业务,都免不了要上门拜访客户。一方面见面洽谈的话会比微信电话谈更加的直接和主动,另外一方面上门洽谈可以直接拿样品给客户看,更加的直观。也让客户知道我们是磁铁生产厂,有生产的实力。...[详细]